HED’s Toroidal 2.0 Patent
HED Cycling announced today that it has been granted a U.S. patent on the aspect or angle of a tire plus a toroidal aero wheel. The patent has implications on the stall of an aero wheel in a yaw. It is U.S. Patent 8,888,195.
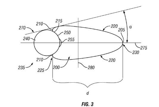
HED's original patent, since expired, was on aero rims of a toroidal shape, that is, where the greatest width of the rim was not at the rim's leading edge, rather some distance back from the edge. HED's Stinger wheel was product originally associated with the patent's theme.
The patent was granted in the name of the late Steve Hed and HED employee Christopher Andrew (Dino) Edin.
 
This new patent (images from the patent are above and below), filed for in 2009 and finally granted after a long process, might be called Toroidal 2.0. What's intriguing is that it's not just a product being patented. It's a product plus a thing you attach to the product, i.e., the tire, that together create a shape that forms the basis of the patent. The patent isn't simply a product; it's both a product and a math problem.
“This patent allows you to predict and design-in a particular stall angle to a wheel based on the tangent angle between the rim edge and tire,” said Greg Kopecky, speaking on behalf of HED. “It's the key to having a fast wheel at the yaw angle(s) desired. It applies to both clinchers and tubulars of all rim depths.“
Could a wheel maker theoretically place an exceedingly wide or narrow tire on one of its wheels and demonstrate that its rim is not in violation of HED's patent? Yes. But this would violate the notion of the wheel's intended use, and “intended use” would form the basis of HED's contention. In order for this argument to prevail, one would assume that HED's patent would include the use of tires of widths commonly used in timed racing today, from 20mm to 25mm.
 
HED's announcement today included the news that it has its first licensee, Specialized Bicycle Components. HED and Specialized have formed a friendly and robust business relationship over the years, not just with aero wheels – the HED3 wheel started its life as a Specialized-branded wheel before shifting to HED – but also in fat bike rims, where HED's well-respected Big Deal rims are spec'd on Specialized bikes.
HED's move toward fatter rims, first 23mm then 25mm and wider, both road and tri, was rare or singular among wheel makers. Its vindication was the movement of the market in general toward 25mm and 27mm aero rims, and the surge in the use of wider (up to 26mm) tires that react well aerodynamically (and in rolling resistance) when paired with wide rims. HED's view is that it didn't make wider rims by accident, but that it knew of the relationship between tires and wheels and predicted better performance in a yaw. HED says it built wider rims because it knew they would test faster due to the angular relationships between tire and rim described in the patent, not because it stumbled on wider rims by accident.
This new patent could cover a significant number of aero wheels in the market. There are many aero rims made in widths of 25mm and greater. Do prospective infringers believe Toroidal 2.0 is an enforceable patent? Unknown by us as of this writing. The patent was granted on November 18, 2014 (this public announcement was made congruent with the Specialized license deal). HED reports knowing of no objections since to its patent since its granting. Objections could still be forthcoming.
 
             
             
                                             
                                             
                                            
Start the discussion at slowtwitch.northend.network